Need help?


Search OutdoorKing-Forum by entering Key Words Below



Who's Online Now
2 members (MowingManiac, 1 invisible), 253 guests, and 790 robots.
Key: Admin, Global Mod, Mod
Online Spare Parts


Online Store


Newest Topics
Victa Vantage 2 stroke rescued from landfill
by MowingManiac - 25/10/25 09:41 PM
Decompression Valve carby connection
by Ghost - 25/10/25 07:11 AM
Victa 24 engine pulleys
by NormK - 19/10/25 08:49 PM
Rover Rancher 1766 headlight lens
by mm-mowers - 17/10/25 05:25 PM
Re rotomo crankshaft.
by Mops Mowers - 11/10/25 07:49 AM
Rotomo crank shaft
by Mops Mowers - 09/10/25 06:07 PM
Topic Replies
Victa Vantage 2 stroke rescued from landfill
by MowingManiac - 25/10/25 09:41 PM
Decompression Valve carby connection
by NormK - 25/10/25 09:57 AM
Rover Rancher 1766 headlight lens
by mm-mowers - 23/10/25 06:03 PM
Victa 24 engine pulleys
by NormK - 22/10/25 09:06 PM
The Rover Pro-Cut Chronicles
by DFB - 19/10/25 09:36 PM
Re rotomo crankshaft.
by Mops Mowers - 12/10/25 08:32 PM
Morrison Rapier 710 Advice Please!!
by maxwestern - 12/10/25 07:35 PM
Rotomo crank shaft
by Mops Mowers - 10/10/25 10:16 PM
Previous Thread
Next Thread
Print Thread
Rate Thread
Hop To
Joined: Mar 2013
Posts: 5
Novice
Hello

From Denmark and has mowed a lot of lawns.
I have a plan to revolutionize light aircraft flying with a two stroke engine as shown.
If the scheme is a no go it will come from torsional vibrations and to analyse that a small model of say 300 ccm will be alright.
I am trying to bash something together from used east German motorbike MZ parts as shown om next picture but something from single side Victa two stroke cranks will be much nicer.
On Ebay Australia such lawnmowers can be had if you come and collect but air tickets are expensive and airfreight of two complete lawnmowers also.
Question is, who can be persuaded to sell me two used crankcases, two cranks and connecting rods, all Victa single side cranks?
If it does not help humanity, it keeps an old man from other bad doings

[Linked Image]
[Linked Image]

Last edited by CyberJack; 19/08/16 01:22 AM. Reason: Topic heading.
Portal Box 6
Joined: Mar 2013
Posts: 5
Novice
Old man again

I somehow exitted

Apicture of something Victa like and of my dearest

Kind regards

Niels [Linked Image]
[Linked Image]

Joined: Jan 2009
Posts: 6,926
Likes: 10
Pushrod Honda preferrer
***
Hi Niels, you have some interesting ideas there. Would you mind posting your request for Victa parts in our "Wanted" forum please? It is part of the "Finding and Swapping" superforum. Many members would have the used PowerTorque parts you are looking for, but working out a shipping solution to get them to Denmark may require some discussion.

Joined: Mar 2013
Posts: 5
Novice
Hello Grumpy

Thank You for guiding me to the rigth place in forums,but I will try and make a screwed crankpin crankshaft myself.
Also now I realizes that Victa cylinder and crankcase is one piece and very expensive to send.
Please enjoy the pictures and do not bother further.
Kind regards

Niels

Joined: Jan 2009
Posts: 6,926
Likes: 10
Pushrod Honda preferrer
***
Thanks for keeping us up to date, Niels. The Victa engine with the cantilevered crankshaft, called PowerTorque, has a cast iron crankcase and cylinder, which in my opinion limits its suitability for your light aircraft project. There are many Japanese cantilevered crankshaft engines which are extremely light-weight, but being made for brushcutters and similar light-duty purposes, they are very small in capacity - probably too small for your purposes. Please accept my best wishes for an enjoyable and productive project.

Joined: Mar 2013
Posts: 5
Novice
Hello Grumpy

Thank You for well wishing and allow me one last question:
What is the name of the biggest ( CCMs) cantilevered crank brushcutter motor to Your knowledge?I did not realise that they were of that kind.

Regards

Niels

Joined: Jan 2009
Posts: 6,926
Likes: 10
Pushrod Honda preferrer
***
Niels, only the smaller and cheaper line-trimmers (such as Ryobi for example) have cantilevered crankshafts. The serious machines sold under major brands have two main bearings. Cantilevered crankshaft machines are commonly called "half crank" and machines with two main bearings are known as "full crank". I have not seen a half crank machine larger than 31 cc displacement.

You can usually recognise whether a trimmer or other small garden machine is full or half crank just by observing where the pull-start is located. If it is a full crank machine the starter is usually the topmost part of the machine, right on the top end of the engine. For a half crank machine the starter is necessarily at the other end of the engine, just above the clutch (if it has one) or the top of the drive shaft. This is because the half crank machine does not have a crankshaft at the top of the engine to attach the starter to: both flywheel and starter have to be on the bottom of the engine, and the bottom of the engine has to be adjacent to the top of the drive shaft.

Joined: Mar 2013
Posts: 5
Novice
Hello grumpy

Thank You for explaning what to look for.
Of I go to the municipal dump looking for treassure.

Regards

Niels

Joined: Aug 2010
Posts: 60
Likes: 1
Trainee
I think the old Commer truck engine was the same design with apposeing pistons. A two stroke diesel..

Joined: Jan 2009
Posts: 6,926
Likes: 10
Pushrod Honda preferrer
***
That was the Commer TS3, Dave, known as the "Commer Knocker" because of its awesome diesel knock. It had a single crankshaft, with connecting rods running outward to fairly massive rocker arms, which attached to the pistons through a second set of connecting rods. It had three cylinders with two pistons in each, firing each pair of pistons simultaneously of course. Here is the diagram of its internals from Wikipedia:

[Linked Image]

(Heh heh. That saved me drawing my own picture. Bless Wikipedia, I say.)
Note that this was a 2 stroke engine without crankcase induction, so it needed some kind of air pump to charge its cylinders with air. As it happened it used a Rootes blower to do this, the same solution adopted by Kettering for the 2 stroke Detroit Diesel, introduced many years earlier (in the 1920s) and produced in high volume until the 1980s I think, when it began to be gradually supplanted by a 4 stroke. The TS3 had a very noisy exhaust (even more so than the Detroit Diesel), which was more or less legal back in those days. However unless you were a born hot-rodder, you would probably not have cared much for either the extraordinary knock at idle or the bellowing exhaust under load - I certainly didn't enjoy them. I once spent a couple of hours at a university open day demonstrating a TS3 on a dynamometer for public visitors. Fortunately that one had an underground exhaust and was more or less civilised.

The Commer trucks were popular in Australia in the 1950s, when nearly everything sold here was British. Many old TS3s are probably still lying in wrecker's yards around the country.

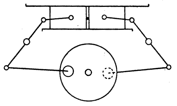
There have been several proposals for opposed piston 2 strokes with two crankshafts, as proposed by Niels. They generally were laid out more or less along the lines of the one illustrated here (also from Wikipedia):
[Linked Image]

Note: the engine in this illustration appears to use crankcase induction, and could probably have run adequately without the supercharger, but it started out as a racing motorcycle engine (DKW) and was presumably intended to maximise power output. Niels proposes to not use a supercharger, and just use two ordinary crankcase induction two strokes which share a combustion chamber. Better results can be achieved by having the transfer port on one cylinder and the exhaust port on the other, with the two crankshafts timed slightly differently from each other so more efficient port timing can be implemented. The ability to do that is usually the main reason for using an opposed piston design.

I don't know of any of the opposed piston engines except for the TS3 having been produced in any substantial volume. They are usually just designs, or at most single prototypes. I said above that the main advantage of opposed piston two strokes is the ability to use slightly differently timing of the two crankshafts, one of which controls the intake port timing and the other the exhaust port timing. Note that there is another way to achieve this, without the bulk and complication of two crankshafts. That is the Puch "split single" concept (which was sold in the US under the name "twingle"). You can read how it works in Wikipedia:
https://en.wikipedia.org/wiki/Split-single

I used to have one of the last of those Puch 250 SGS bikes, and rode it to school every day. The engine was great, pity I couldn't say the same for the gearbox.

Joined: Nov 2013
Posts: 6,938
Likes: 304
Forum Historian
[Linked Image]

I have re-named, locked and archived this topic.
It is a great example of the diversity of ideas that come to ODK.

The be-loved Grumpy's response is priceless.

-----------------------
Jack


Moderated by  Bruce, Gadge 

Link Copied to Clipboard
Forum Donation
These Outdoorking Forums have helped Thousands of people in finding answers to their equipment questions.

If you have received help, please consider making a donation to support the on-going running cost of these forums.

October
M T W T F S S
1 2 3 4 5
6 7 8 9 10 11 12
13 14 15 16 17 18 19
20 21 22 23 24 25 26
27 28 29 30 31
ShoutChat
Comment Guidelines: Do post respectful and insightful comments. Don't flame, hate, spam.
Newest Members
Mikey.Menace, Maudebs, Greenarrow01, stkarl, Stannyboy
17,641 Registered Users
Forum Statistics
Forums145
Topics13,011
Posts106,976
Members17,641
Most Online16,069
Sep 19th, 2025
OutdoorKing Showcase
20 Bucks from FB Marketplace
20 Bucks from FB Marketplace
by Return Rider, February 20
Victa Cortina 2 Shed Find
Victa Cortina 2 Shed Find
by Return Rider, January 25
My Rover Baron 45
My Rover Baron 45
by Maxwell_Rover_Baron, April 16
SHOWCASE - Precision Mowers - 2021
SHOWCASE - Precision Mowers - 2021
by CyberJack, April 14
SHOWCASE – Atco Rotary – Paul C - 2020
HOME |CONTACT US
Powered by UBB.threads™ PHP Forum Software 8.0.0
(Release build 20240826)
Responsive Width:

PHP: 8.3.26 Page Time: 0.036s Queries: 37 (0.030s) Memory: 0.6757 MB (Peak: 0.7399 MB) Data Comp: Zlib Server Time: 2025-10-25 21:50:36 UTC
Valid HTML 5 and Valid CSS