0 members (),
7,461
guests, and
465
robots. |
Key:
Admin,
Global Mod,
Mod
|
|
|
Joined: Jan 2013
Posts: 445 Likes: 1
Qualified Junior
|
Tecumseh Ultima 5hp Engine. This mower came to me with a fair few problems. The first was associated with having no spark whatsoever. The coil was dead as a dodo no matter what I tried. After pulling the engine down to check everything out there was no obvious reason why there should be no spark so I replaced the coil from a another Tecumseh that had a rod poking outside the block and hey presto some bright blue spark appeared. I gave it a quick test and the motor fired with a little petrol in the block so that was the first problem solved. My first question is in relation to the dead coil. I like to understand a little more about why this happens and what can be done to prevent damage moving forward. I am thinking at some point or another the mower may have overheated. This carby has caused me a fair few problems and I think my rough running problems are associated with fuel supply. Work done to date: � Thorough clean with carby cleaner and compressed air. � O Rings on the emulsifier and jet replaced and reinstalled correctly. � Sealing gasket found to be in excellent condition and re-installed. � Top part of carby thoroughly cleaned and re-installed along with the breather hose. � I cleaned the primer system down and all appears to be functioning correctly as I can get nice easy one pull starts. Now here are some further problems � no matter how I adjust the speed screws near the carb, I cant make it stop chugging or change the speeds. The mower doesn�t stall it keeps running but its chugging and smoking just a little like its running rough. The plug when inspected was a little blacker than I thought it should be. If I put a good splash of fuel down the hole the engine sings sweetly for a few second and then it goes back to chugging away toughly I am think there is something I might have missed so I would appreciate some suggestions. Note: Compression registered at just over 100psi so I think that shouldn�t be the problem. I have included a couple of photo�s below which show the mower is in quite good condition. I have done a fair few of these utima�s know so I know the carb�s reasonably well however in this case I must have missed something! ![[Linked Image]](https://www.outdoorking-forum.com.au/forum/uploads/usergals/2015/06/full-6412-22422-img_1885.jpg) ![[Linked Image]](https://www.outdoorking-forum.com.au/forum/uploads/usergals/2015/06/full-6412-22423-img_1887.jpg)
|
|
|
|
Joined: Jan 2009
Posts: 6,926 Likes: 10
Pushrod Honda preferrer
|
I haven't heard of a characteristic coil problem with that engine, but it has such an appalling reputation for carburetor problems that perhaps the subject has never come up before.
I suggest you check the flow rate of fuel through the fuel line and fuel filter by removing the float bowl and checking how long it takes to fill a cup under the carburetor. From your description, the problem may be lean misfire. Restrictions in the fuel flow rate normally allow the engine to start properly, but the flow of fuel into the carburetor float bowl is then insufficient to replace what is being used, so the mixture gradually becomes leaner until the engine misfires, and possibly stops.
|
|
|
|
Joined: Dec 1999
Posts: 5,386 Likes: 34
Repair Junkie
|
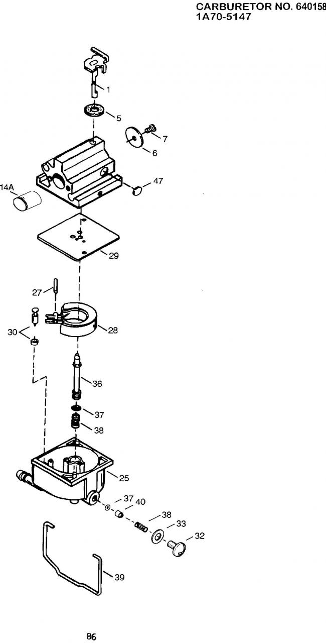
Jaffa J, Below is an image of the Ultima carby. I want to know if you replaced item # 37 on both the main jet and base of the carby. If you have not changed the one in the bowl then that is what might be your problem. From memory they did have some issues with the main jet but would have to look for notes that I might have on it. ![[Linked Image]](https://www.outdoorking-forum.com.au/forum/uploads/usergals/2015/06/full-3-22425-ultima_carby.jpg)
Regards, ![[Linked Image]](https://www.outdoorking-forum.com.au/forum/images/members/mower-monsterw.jpg) Bruce Please do not PM me asking for support. Post on the forums as it helps all members not just the individual.
|
|
|
|
Joined: Jan 2013
Posts: 445 Likes: 1
Qualified Junior
|
Thanks for the assistance to date.
Grumpy I am a little confused on how to do a flow test given the design of this carby. Any other normal briggs or tecumseh carb, it would be simple to conduct your test indicated. I am probably missing something so I'll let you clarify that point.
Initially I only replaced the o ring on the jet and not the emulsifier so I replace thed emulsifer o ring and now it revs right up after 1 pull. It doesnt chugg away like before or blow any smoke. Lesson leart to always replace the o rings even when they look spot on!
However I cant get the mower to slow down as its clearly reving way to hard and it wont idle no matter what I do with the adjustment screws. I might have something mixed up as normally I can get a very nice idle and a good full speed from this type of engine.
I'd appreciate any thoughts.
|
|
|
|
Joined: Apr 2015
Posts: 715 Likes: 1
seanw
|
Is this of the same ilk? ![[Linked Image]](https://www.outdoorking-forum.com.au/forum/uploads/usergals/2015/06/full-9141-22434-dscf4663.jpg) ![[Linked Image]](https://www.outdoorking-forum.com.au/forum/uploads/usergals/2015/06/full-9141-22435-dscf4704.jpg) I.s this a relation to yours, it has compression and spark, wont start, cant play the banjo. I am learning this lawnmower stuff from here. Lawnmowers are like women, they start easy or refuse, they are lubricated or not they cut you when they want, they need a shove. Enough from me
motorwannabe
|
|
|
|
Joined: Jan 2013
Posts: 956 Likes: 20
Moderator
|
Sean, the top one is exactly like Jaffa's, less common but a real powerful unit. The bottom one is your regular TVS series tecumseh.
|
|
|
|
Joined: Jan 2013
Posts: 956 Likes: 20
Moderator
|
Jaffa, i was going to suggest the bottom oring but Bruce beat me to it. As to why coils crap themselves that's a good question, i've never stopped to think about the why. On the bright side of that though is a regular TVS series tecumseh coil is reverse compatible with with the type that's fitted on the VLV/Ultima motor.
Now to deal with your revving issue. I will assume that the butterfy in the carb operates freely and is not binding. You will find the crankcase ventilation breather hose coming "through" the path of the governor linkage and plumbing into the top of the carby. The hose has to be re-routed (i can't remember if it's over or under, but what looks like the logical path at first glance isn't) to the carby so it doesn't interfere with the governor linkage and hold the throttle open.
|
|
|
|
Joined: Jan 2013
Posts: 445 Likes: 1
Qualified Junior
|
Well the emulsifier O Ring has definitely stopped the fuel delivery issue as I get nice 1 pull starts with no chugging coughing or smoking. I confirmed this morning that the butterfly in the carb operates freely and is no binding. I have include a photo of the governor linkage and to the best of my knowledge it is not binding with the breather hose. Everything moves freely as it should. The mower is still running to fast (you could call it holding the throttle open as I cant get an idle at all. When you move the throttle to the full speed position the actual speed of the engine doesn�t change. Its still full speed. ![[Linked Image]](https://www.outdoorking-forum.com.au/forum/uploads/usergals/2015/06/full-6412-22441-img_1891.jpg)
|
|
|
|
Joined: Jan 2009
Posts: 6,926 Likes: 10
Pushrod Honda preferrer
|
Sorry I got on the wrong bus there: when you said at the beginning that you'd replaced both the O rings, I took it literally. With the emulsifier O ring leaking, I would expect the mixture to have been rich, not lean, and the symptom would have been the engine speed "rolling", like a car with too much choke applied.
I think you should try to push the throttle linkage down to idle by pushing on it directly. Once you know for sure whether it is just a matter of the throttle being held open by the linkage, you'll be halfway there. The problem sounds as if it will probably be related to bigted's diagnosis - some part of the breather tube holding the throttle linkage - which you may be able to verify just by removing the tube completely and seeing whether the throttle butterfly will then return to the idle position.
|
|
|
|
Joined: Apr 2015
Posts: 715 Likes: 1
seanw
|
the top one wont start the bottom one starts first pull and runs sweet. I can not work out why I cant even get it to fire with aerostart. Having a bit of trouble working out how to dismantle it
motorwannabe
|
|
|
|
Joined: Dec 1999
Posts: 5,386 Likes: 34
Repair Junkie
|
the top one wont start the bottom one starts first pull and runs sweet. I can not work out why I cant even get it to fire with aerostart. Having a bit of trouble working out how to dismantle it Have you checked the flywheel key in the one that won't start. The bet is that it is sheared and that is why you can't start it with aero start. Also noted that the bar blade in the picture, did you try to start the motor without a blade plate or bar blade on it? When you post can you give more detail on the machine because if you do the guys will be able to help with correct information. Here is an example of what you should supply. 1. did you have fresh fuel from the petrol station in it. 2. was the blade plate or bar blade on it when you tried to start it. 3. do you have the correct amount of oil in the engine (including the correct oil type) 4. do you have spark? These items will help a lot when trying to sort out issues with mowers. The engine on the top had issues with the air filter housing warping. 
Regards, ![[Linked Image]](https://www.outdoorking-forum.com.au/forum/images/members/mower-monsterw.jpg) Bruce Please do not PM me asking for support. Post on the forums as it helps all members not just the individual.
|
|
|
|
Joined: Apr 2015
Posts: 715 Likes: 1
seanw
|
Gday Bruce. Mate I put fresh fuel in it, The blade was on it, Oil level and type are correct and it has compression and spark. Am close to giving up on it as I have another motor that works that I can put on the frame. But not 5hp. Really wanted to check out the power of it.
motorwannabe
|
|
|
|
Joined: Jan 2013
Posts: 445 Likes: 1
Qualified Junior
|
I should have been a little clearer in my original post re- the o rings. I replaced the one on the jet initially as it simply wasn�t present with the carb however the o ring on the emulsifier look pretty good so I left it as is. Note to self: just replace each ring next time I get another ultima! Grumpy your description of what the engine was doing re: running rich like it had too much choke applied is exactly right. I need to get my desciptions a little better moving forward to get an easier diagnosis. Grumpy I went with your recommendation to remove the tube from the carb and hey presto the high reving was gone after a little tuning. I thought the position of the breather hose wasn�t effecting the linkages but it was. I very carefully replaced the hose so it didn�t affect the linkage and now it idles very nicely and full speed is spot on. I�d like to note for others that these engines need to be tuned when hot as per Bigteds instructions. I gave this mower a good run today for 20 odd minutes in some long grass and it didn�t miss a beat. These units have plenty of power and when running properly are damm good engines. Guys, thanks for the expert assistance. I hope the thread can be useful to others. Sean, If you are only just starting out with fixing engines this one really isnt the easiest however don�t give up. I�d suggest starting a separate thread and post your problems as you go and I along with others will be able to assist, rather the confusing people with posting 2 separate sets of questions in the same thread. Grumpy, I will leave it with you whether or not you close it off. Peter
|
|
|
|
Joined: Apr 2015
Posts: 715 Likes: 1
seanw
|
sorry to confuse you peter i am learning this stuff
motorwannabe
|
|
|
|
Joined: Jan 2009
Posts: 6,926 Likes: 10
Pushrod Honda preferrer
|
Peter, you are on a learning curve like everyone else in the world. I agree with you that part of the secret of effective discussions on these forums is for everyone involved to give clear and accurate descriptions of what they see, what they do, and what they suggest be done. Of course that gets easier to do as you get more experience with the issues and the standard descriptive terms.
Thanks for clearing those remaining points - I will close this thread, so that sean can open another one specifically on his engines.
Thread re-opened by request
Last edited by grumpy; 16/07/15 09:53 PM. Reason: Re-open thread
|
|
|
|
Joined: Jan 2013
Posts: 445 Likes: 1
Qualified Junior
|
Thanks for re-opening this thread.
I should have re-posted up earlier about my problems encountered the following day after finalising this thread.
I seem to be back to square one. It seems as if the mower is running on choke.
All of the linkages are free and moving correctly. The breather hose is not impacting the linkage movement. I tested this by slowly moving the governor arm and making sure the springs and linkages were moving as they should. No problems where identified.
The next day the mower started very easily and appeared like it was running on choke for 10 seconds and then it all cleared up and ran perfectly. I then tried it later in the day and I was back to square-one. The mower simply acted like it was running on choke (from the black puffs) of smoke coming out the exhaust. The mower wouldn�t stall it just continued to chug away with light puffs of black smoke.
Since encountering the problem I have re-cleaned the carby and replaced the o rings again incase I accidently damaged on upon installation and the problem is still identical.
The carby was meticulously cleaned with carby cleaner, compressed air and my jet drill cleaning set so I am very confident its as clean as possible.
I am open to any thoughts as this problem has me a little confused.
|
|
|
|
Joined: Jan 2009
Posts: 6,926 Likes: 10
Pushrod Honda preferrer
|
You've worked on enough carburetors to be unlikely to have put it together incorrectly. For it to go rich intermittently, my favorite suspect is a leaking needle and seat.
|
|
|
|
Joined: Jan 2013
Posts: 956 Likes: 20
Moderator
|
Another qick check is the air filter, try all options, remove it, replace it, isolate the snorkel from the lower end. I had one that did things like yours once and it was focused around the airfilter. It would cough splutter choke, then come good after toying with the air filter?? WTF, it came good in the end with a new filter.
|
|
|
|
Joined: Jan 2009
Posts: 6,926 Likes: 10
Pushrod Honda preferrer
|
With rich mixture together with a clean, healthy carburetor, for me the first thing to do is remove the air cleaner and see if it makes a difference. It shouldn't make any, of course.
|
|
|
|
Joined: Jan 2013
Posts: 445 Likes: 1
Qualified Junior
|
Thanks for the comments.
I replaced the needle seat with a new one and left it until the following day to try it out.
The carby is now flooding as the engine initially hydro locked and just about dislocated by shoulder on the first pull. After a few measured pulls of the starter rope I cleared the excess petrol out and it fired up quite easily. The mower ran quite well albeit a little fast but nothing to be concerned about. I can adjust that later on.
I am assuming the seats in Tecumseh carbs are compatible with all carbs including the odd design ultima. The needle seat I pulled out of the ultima carb was quite hard and not soft so I suspect Grumpy you were correct. I re-installed it carefully but something might be up. I�ll have to re-check the carb again tonight. The grooves on the seat were placed down like all other Tecumseh carbs.
Top speed is quite nice but the [Censored] thing just won�t idle at all. I�d appreciate some tips on the idle adjustment but I assume it�s the same as all other Tecumseh�s. The others I have worked on all adjust quite easily. I do suspect we have some further problems contributing to this issue.
Tonight I will re-check the carb but I would appreciate any additional thoughts deemed appropriate.
Also the air filter is brand new. Removing it make no difference as I suspected.
Peter
|
|
|
These Outdoorking Forums have helped Thousands of people in finding answers to their equipment questions.
If you have received help, please consider making a donation to support the on-going running cost of these forums.
|
|
Forums145
Topics13,002
Posts106,910
Members17,611
|
Most Online16,069 Sep 18th, 2025
|
|
|
|