1 members (timmykat88),
4,626
guests, and
259
robots. |
Key:
Admin,
Global Mod,
Mod
|
|
|
Joined: Nov 2015
Posts: 15
Novice
|
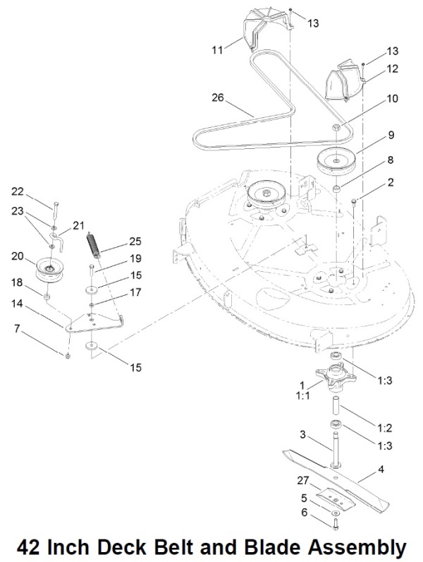
Hi all, I'm a newbie here, just registered, and have a question. I have a Toro XLS 420T ride on which is 4 years old and has had approx. 120hrs of use. Today I noticed some noise and vibration while mowing so stopped to check the cutter deck to avoid major damage. The bearings on the cutter shafts are 'shot' and have serious movement at the blade end. This surprised me as I've had a Rover for some years and only replaced the bearings once but after much more use than this has had. I'm going to replace all bearings on the deck but can't loosen the nuts on the pulley end of the shafts. Are these left hand threads as I have assumed or conventional RH thread? I've tried both ways but don't wish to force the issue in case I'm turning the wrong way. Also are these pulleys a press on fit as I seem to be able to turn the shaft within the pulley. Thanks in anticipation to anyone who can shed some light on this. Bob W 
|
|
|
|
Joined: Feb 2011
Posts: 510 Likes: 1
Qualified Senior
|
Bob, Is this your cutting deck? Manuals can be found here. https://www.toro.com/en-GB/parts/partdetails/?id=40448You should be able to determine the thread using this. ![[Linked Image]](https://www.outdoorking-forum.com.au/forum/uploads/usergals/2015/11/full-4730-25355-thread.jpg) If you have a push bike, look at the LH pedal for an example of a Left hand thread.
Last edited by mark electric; 16/11/15 10:26 PM.
Happy is he who penetrates the mystery of things.
|
|
|
|
Joined: Nov 2015
Posts: 15
Novice
|
Hi Mark, Yes, thanks Mark, that's my cutting deck and I intend to replace the upper & lower bearings on both cutter shafts as well as the tensioner pulley if it has any, although the exploded view shows what looks like washers rather than bearings, my problem is identifying whether the shafts have a LH or RH thread as the nuts completely conceal the thread. I don't want to use excessive force in either direction in case I do damage to the shaft or housing. Do you have a legend to go with the parts list which states if the nut (part #10) is LH as most part lists I've seen nominate a thread only if it is LH. No such identifier is used if the thread is RH. Sorry just looked at the link you provided and have answered my own questions. It doesn't nominate which hand the thread is so would therefore think it is RH, but I can't undo in that direction without massive force which I'm unwilling to do. Thanks for the diagram and parts list as I'm sure I will use these in future. Bob W 
Last edited by Bob W; 17/11/15 05:25 AM.
|
|
|
|
Joined: Jan 2012
Posts: 1,842 Likes: 14
Moderator
|
Another way to approach this is, what's the cutter spindle rotation direction, looking from above?
If it is clockwise for both spindles, there's no reason to use left hand threads, which are quite rare on mowers. If you can get access to an impact wrench, that's usually the most effective way to break tight fasteners loose, used carefully.
Cheers, Gadge
"ODK Mods can explain it to you, but they can't understand it for you..."
"Crazy can be medicated, ignorance can be educated - but there is no cure for stupid..."
|
|
|
|
Joined: Nov 2015
Posts: 15
Novice
|
Thanks Gadge, yes both spindles rotate in a clockwise direction as the grass shute and deflector are on the right hand side, that's what made me think it may have been a LH thread as then the thread direction would be against the spindle direction, so reducing the risk of loosening under normal use. Cheers Bob W
|
|
|
|
Joined: Jan 2012
Posts: 1,842 Likes: 14
Moderator
|
Well, think a bit more about the direction of the torque applied to the nut by the pulley.
For CW spindle rotation, the pulley is tending to slip in the CW direction, which will tend to tighten a RH threaded nut.
The only cutter decks I've encountered LH threads on, have CCW spindle rotation. The old Mobilco Heavycut slashers spring to mind, and most Greenfield ride-ons.
Cheers, Gadge
"ODK Mods can explain it to you, but they can't understand it for you..."
"Crazy can be medicated, ignorance can be educated - but there is no cure for stupid..."
|
|
|
|
Joined: Feb 2011
Posts: 510 Likes: 1
Qualified Senior
|
Thanks for that Gadge, you had me drawing a diagram of a cutting deck and pulleys, drawing in direction of rotation arrows. I can see how CW rotation of the pulley will tighten a RH threaded nut.
Happy is he who penetrates the mystery of things.
|
|
|
|
Joined: Jan 2015
Posts: 1,526 Likes: 23
SENIOR TECHNICIAN
|
If you can get access to an impact wrench, that's usually the most effective way to break tight fasteners loose, used carefully. I find that a 24" 1/2" drive pull bar works best with a block wood to stop blade rotation when loosening these nuts and bolts. Now of course a good strong impact will work but what I have is junk they never develop the Ft-lb torque they claim. Even with the pull bar you need to use impact rated sockets for their strength and the six point drive.
Last edited by AVB; 20/11/15 01:10 PM.
|
|
|
|
Joined: Nov 2015
Posts: 15
Novice
|
Thanks all for your help. You're right Gadge I can see now how the pulley direction would tighten the nut on a RH thread, I guess some of us tend to over complicate things. But I don't have access to a decent impact wrench so will have to persevere with a socket and bar or a good old ring spanner. Yep AVB I think I might have some impact rated sockets but I'm not sure I'll have one the correct size. The Toro is American I think so has imperial sizing but so much of my stuff these days are metric, why do we have to use two different ways of measuring the same thing????? 
Last edited by Bob W; 21/11/15 02:03 AM.
|
|
|
|
Joined: Nov 2015
Posts: 15
Novice
|
Thanks again to all that helped out with info and advice. I have now replaced the upper & lower bearings on the two cutter shafts and replaced the idler pulley as it has captive bearings and the mower is a goer again. Lets hope the replacement bearings last more than 120 hours. BTW I didn't use genuine but rather purchased good quality items from the local engineering workshop/outlet.
Cheers Bob W
|
|
|
|
Joined: Jan 2015
Posts: 1,526 Likes: 23
SENIOR TECHNICIAN
|
Glad you got it going and sorry for not responding to your question or observation about the two different measuring systems.
As bearings I ones use are mostly China made. I just add extra grease to the seal versions. Even some those idler pulleys can have extra grease added using a needle injector.
I wouldn't have half the tools I got if it wasn't for the two systems. Personally the metric system make it a lot easier as everything is base 10 where the SAE system is all over the place. What get me is the hybrids where they use both metric and SAE on the equipment. You get one set of tools out to do the work and end up with sets out. At least these are the main two measuring systems; glad there isn't more to deal with. Even with the ones we have the there are oddities that we need to be aware of.
Now with all new styles of tools we just end up needing more tool storage. I just recently had to buy E-sockets which are external Torx. I also had buy a set metric wrenches that cover sizes that normal metric wrench sets don't have as I needed the 24mm and 27mm wrenches. At least I have not needed to get into the 3/4" or 1" drive stuff yet.
The worst here is trying to obtain metric fasteners even being located next a major NASA facility which does everything in metric. Even they made mistakes and use the wrong measuring system when programming equipment.
|
|
|
These Outdoorking Forums have helped Thousands of people in finding answers to their equipment questions.
If you have received help, please consider making a donation to support the on-going running cost of these forums.
|
|
Forums145
Topics13,000
Posts106,906
Members17,608
|
Most Online16,069 Sep 18th, 2025
|
|
|
|