|
1 members (Dandare),
1,874
guests, and
242
robots. |
|
Key:
Admin,
Global Mod,
Mod
|
|
|
|
Joined: Apr 2015
Posts: 7
Novice
|
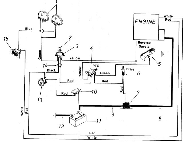
Hello! I have just bought an old ride-on lawnmower (Monark/Noma 12/39) with a 12hp B&S engine It had been standing outside in the rain and snow for a year before i bought it, but the seller told me it worked well last year. But now it won't start... The battery was dead so i changed the battery, but still nothing. So i checked the starter motor and solenoid and they both work fine when i test them....but when i turn the ignition the solenoid won't click. I think they might have been working on the wiring on it (they have tried to disable the seat switch atleast). I can't get the solenoid to work, cause i fear they have connected something wrong in the wiring harness.... And i don't have the wiring chematics so i have no idea where the wires are going... Engine model is 281707, type 0416 and code is 89111511I also see that the anti-oscillation spring is broken on the carb side and i don't know where it's supposed to be or how important it is? (Can i just put on the broken end on the throttle butterfly?) So can anyone help me with the wiring schematics for this one? Thanks in advance, Kim Thomas 
|
|
|
|
|
Joined: Jan 2015
Posts: 1,547 Likes: 25
SENIOR TECHNICIAN
|
The diagrams are from a Noma_A3560 010-12HP 36inch but should give you an idea of what your looking at. ![[Linked Image from i1329.photobucket.com]](http://i1329.photobucket.com/albums/w548/ke4avb/55-1013_zpsbw9hvuou.png)
|
|
|
|
|
Joined: Jan 2009
Posts: 6,926 Likes: 10
Pushrod Honda preferrer
|
Hi Kim, welcome to Outdoorking. I can add some engine information to the electrical information AVB has supplied. Here is the Illustrated Parts List for your engine: http://bsintek.basco.com/BriggsDocumentDisplay/Z6ntzHVJ1DajI.pdfHere is the Operator's Manual for your engine: http://bsintek.basco.com/BriggsDocumentDisplay/29oqxEKT9FzXFix2.pdfThe engine was manufactured on 15 November 1989. I suggest you use a resistance meter to trace the wires, comparing them with AVB's wiring diagram as you go. In Australia at least, it is very common for previous owners to have modified the wiring, often in dysfunctional ways. Please post pictures of your throttle linkage - I can't visualise it at present. Essentially, there is a wire link from the governor lever to the throttle butterfly and it has to be the right length to work properly. I can't currently recall a side valve Briggs engine that had an anti-oscillation spring (which Honda calls an anti-surge spring), though they do have a governor spring in that vicinity, connected from the governor lever to the speed control lever.
|
|
|
|
|
Joined: Apr 2015
Posts: 7
Novice
|
Thanks alot AVB and grumpy! I've been scouring the internet for a picture or the ignition module and the wiring harness! I actually got it started yesterday (though i still have to force-start it by connecting the wires on the solenoid). Just needed a thorough clean and adjustment of the carb and now it seems to run fine. Gonna have a closer look on the wiring today then, cause it seems to drain my battery fast as it is now, so keeping the battery disconnected for now until i find out what's causing the drainage. ![[Linked Image]](https://www.outdoorking-forum.com.au/forum/uploads/usergals/2015/04/full-9112-21014-11121109_10153144348280874_1769096913_n.jpg) ![[Linked Image]](https://www.outdoorking-forum.com.au/forum/uploads/usergals/2015/04/full-9112-21015-11117875_10153144348015874_2012157436_n.jpg) There's the photos of the throttle linkage
|
|
|
|
|
Joined: Jan 2009
Posts: 6,926 Likes: 10
Pushrod Honda preferrer
|
It has the standard rack-and-pinion governor plate, with wire links for throttle and choke. The red oval shows the throttle link. The green irregular shape shows the choke link. ![[Linked Image]](https://www.outdoorking-forum.com.au/forum/uploads/usergals/2015/04/full-2772-21016-bs_281707_carburetor_links.jpg)
|
|
|
|
|
Joined: Jan 2015
Posts: 1,547 Likes: 25
SENIOR TECHNICIAN
|
The spring in the picture I think is the one you wrote about. If so it is there to remove slack in linkage setup and it should be same as the linkage at the carburetor. ![[Linked Image from i1329.photobucket.com]](http://i1329.photobucket.com/albums/w548/ke4avb/280000%20Governor%20link%20Spring_zpsx8kumpmi.png)
Last edited by AVB; 02/04/15 01:32 PM. Reason: Added word "spring"
|
|
|
|
|
Joined: Feb 2011
Posts: 510 Likes: 1
Qualified Senior
|
Hello Kim, Your wiring issue may be a safety switch not closing to allow the engine to start. I don't know your exact model, but switches are commonly on the cutting engage lever, seat & other places, others on here can add to this please.
With regard to your battery draining, due to a phantom load when everything is meant to be off. My process is (with ignition & everything turned off) to remove the battery negative and touch it on and off the negative terminal looking for an arc. If you see an arc or spark, this represents your drain. Then I disconnect circuits in a logical manner until the arc goes away. Then you have narrowed it down to a particular circuit to fault find.
Last edited by mark electric; 02/04/15 05:35 PM. Reason: add details
Happy is he who penetrates the mystery of things.
|
|
|
|
|
Joined: Apr 2015
Posts: 7
Novice
|
mark electric: Yes i do get a spark when i connect the negative lead. I found the discharge to stop when i took of the wire from the ammeter to the stator/magneto. So i took of the ammeter and opened it to see inside, but found nothing wrong so i put it back in and now it's not working at all.....But the drainage is gone though... I think it might be the lead (see pic #2) that goes into the engine next to the starter motor that's the problem (is that to the alternator?) because it looks like it's been hot and changed color from red to red/black closest to the engine. How do i find the end of it? Do i have to take off the flywheel (top of the engine) to get to the other end of it? And when it comes to the safety switches: Both the seat switch and brake/clutch switches are "normally closed, but the PTO(?)(The right one on picture #1 with the blue wires it/out) is normally open, is that correct? ![[Linked Image]](https://www.outdoorking-forum.com.au/forum/uploads/usergals/2015/04/full-9112-21039-solenoid_etc.jpg) ![[Linked Image]](https://www.outdoorking-forum.com.au/forum/uploads/usergals/2015/04/full-9112-21040-starter.jpg) I'm so close to putting on a start button instead now, cause this is driving me crazy! :p
Last edited by KimThomas; 03/04/15 03:53 AM.
|
|
|
|
|
Joined: Jan 2015
Posts: 1,547 Likes: 25
SENIOR TECHNICIAN
|
Yes that lead going under the flywheel is for the alternator. It looks to be a tri-circuit setup requiring a rectifier/regulator setup. It also could be a DC only alternator missing the rectifier diode. Either way this would cause the drain as the diode would prevent back flow of the battery voltage/current to ground. If there is a diode in the circuit it is probably shorted.
The only way to tell if is a DC or Tri-circuit alternator is to pull the flywheel as the IPLs shows several setups without being type specific.
|
|
|
|
|
Joined: Feb 2013
Posts: 194
Apprentice level 2
|
`Hi mate.
Make sure the solenoid is bolted to the chassis, some get their earth through the metal base of the solenoid.
Cheers
Luke
|
|
|
|
|
Joined: Feb 2011
Posts: 510 Likes: 1
Qualified Senior
|
Kim, your images are good. The fellas on here are great & willing to help. If I start going crazy, I try to look at one little part at a time. To answer your questions from post #63208 An ammeter is connected in series and not meant to load the circuit at all. It works by allowing most of the current to flow straight through (terminal to terminal)through a shunt resistor and just a very tiny amount flows though a meter movement (connected in parallel across the shunt)to make a needle deflect. When you measure it with a low reading ohmmeter it should be low resistance across its terminals. I cant see an ammeter in the diagram above. I'm no expert on all the different ride ons out there, but I do know for a ride on to start it has to meet all the safety conditions first. ie. no cutting load on the engine, park brake on, not in reverse, sitting on the seat ect. If you have a multimeter with continuity with an audible tone, that would help you test for a continuous circuit from the start contact on you ignition switch down to the start coil contact on the solenoid. This is dead testing, with no power connected. I am always reluctant to give wiring advice on the net, as I would hate to have someone melt their wiring and blame me. Here is an un related diagram from an MTD showing an ammeter and some safety switches. ![[Linked Image]](https://www.outdoorking-forum.com.au/forum/uploads/usergals/2015/04/full-4730-21061-wirng_for_ride_on.jpg) ![[Linked Image]](https://www.outdoorking-forum.com.au/forum/uploads/usergals/2015/04/full-4730-21062-legend.jpg) It would not be the end of the world if your engines alternator is not charging your battery, (do it with a stand alone charger) you could for now disconnect the wire that is discoloured (a sure sign of excessive heat)and tape them up for now. Cheers from Mark
Last edited by mark electric; 03/04/15 04:39 PM.
Happy is he who penetrates the mystery of things.
|
|
|
|
|
Joined: Jan 2009
Posts: 6,926 Likes: 10
Pushrod Honda preferrer
|
The most common types of Briggs charging circuits have an alternator under the flywheel. This produces alternating current (AC) which has to be rectified to DC to be of any use except for running the mower's headlights. Most of the engines are sold with low-current alternators, only capable of producing from 1 to 5 Amps, depending on model, and these types usually have a diode in the alternator output lead, positioned where it connects to the mower's wiring. It is not very unusual for the diode to fail, and it is even less unusual for the previous owner to have thought it might have failed. If s/he responded to this by simply removing the diode and throwing it away, the battery will discharge through the alternator winding when the engine is not running, and it also will not charge when the engine is running. The cure for that problem is simply to put a diode in the alternator output wire, preferably on the engine side of where the wire connects to the mower's wiring.
|
|
|
|
|
Joined: Apr 2015
Posts: 7
Novice
|
Thanks for the help guys, really appreciate it. I found my starting-issues was a malfunctioning solenoid. Since parts are close to impossible to get here i ended up putting on an engine start button instead (connected it on the solenoid with a 15A fuse) As for the charging it seems to charge a small bit (around 12.8v) so atleast it's not draining the battery, but will have to see how it will be when i get new lightbulbs (both blown at the moment) Just tried mowing the lawn now after servicing the cutterdeck, but i really need a new belt for the cutters, and i need to do some painting on it cause all the rust under the deck stops the grass from getting thrown out correctly so it ends up clogging instead. Yeah and both the "brakes" for the cutters are all worn out so i might have to see if i can fix that aswell In the end it seems to be a good buy for me 
Last edited by KimThomas; 09/04/15 06:08 PM.
|
|
|
|
|
Joined: Jan 2009
Posts: 6,926 Likes: 10
Pushrod Honda preferrer
|
Most of those small alternators have an extremely low charge rate - the most common is only 1 amp or so, and it only reaches that level at maximum engine speed. The use of lights with those systems is not really practicable, but with very few starts and longish mowing sessions, it can maintain the battery's state of charge.
The starter solenoid is just a generic 12 Volt one - you can get one from a junked car, so long as you choose a car with a separate solenoid rather than one that is built into the starter motor.
|
|
|
|
|
Joined: Apr 2015
Posts: 7
Novice
|
Anyone who could help me find a picture/drawing etc of the cutterdeck? I assume there are some parts missing on my deck because the belt keeps falling off every time i pull the lever back to "off". I am missing atleast 1 beltguide, and the brake for the right cutter have broken off because of rust, so the linkage between the brakes had to be taken off. So i could really use a picture of how it's ment to look like  Not sure what info you need about the cutterdeck or if all are the same?
|
|
|
|
|
Joined: Feb 2011
Posts: 510 Likes: 1
Qualified Senior
|
Kim, a have a feeling this deck will be close. Not a good image, but here are some reasons for the drive belt flying off. ![[Linked Image]](https://www.outdoorking-forum.com.au/forum/uploads/usergals/2015/04/full-4730-21249-monark.jpg)
Happy is he who penetrates the mystery of things.
|
|
|
|
|
Joined: Apr 2015
Posts: 7
Novice
|
Marc electric: you are right about that not being a good picture! But that does indeed look alot like my deck. I found my problem to be the big bolt for the idler pulley, it has worn out the holes it goes through on the assembly making it have alot of play when engaged. Tried finding some way to fix that play, but i don't have a welder so i don't know how to fix it without bying a new assembly (which i don't have the money for). Anyone who got a good suggestion about how to fix that? Help would be highly appreciated 
|
|
|
|
|
Joined: Jan 2015
Posts: 1,547 Likes: 25
SENIOR TECHNICIAN
|
An option would be remove idler center bushing if has a removable version (requires a hydraulic press) and use a shouldered bolt of the correct size along washers to make up spacing the bushing provided.
I don't try this approach but I do change out bushings when low cost idler of correct size can obtain vs the expensive OEM version or when it is no longer available.
|
|
|
|
|
Joined: Apr 2015
Posts: 7
Novice
|
It's not the idler pulley or the bolt in the pulley, but the one big bolt that holds the "housing for the pulley. It's made circular hole oval instead, so the whole bracket and the pulley isn't leveled when engaged, which again causes the belt to fall off.
I tried adding an image but my phone wouldn't let mr so will try to upload it from the computer when i get inside (just have to finish the homemade trailer for the lawnmower first :-) )
|
|
|
|
|
Joined: Jan 2015
Posts: 1,547 Likes: 25
SENIOR TECHNICIAN
|
It would be done a similar way just with shorter shoulder on the bolt. MTD did it for linkages on several of their 700 series mowers. You just drill the mounting hole round again for the oversize bolt and use washer on the nut side to stabilize things. I have same problem with MTD 700 series steering bolts. They use full thread bolts when they should at least use with shank that pass the mounting hole.
Last edited by AVB; 14/04/15 06:33 PM.
|
|
|
|
Forums145
Topics13,076
Posts107,348
Members17,902
| |
Most Online16,069 Sep 19th, 2025
|
|
|
|